N883LC
Eclipse 500 (EA500)
Eclipse Aviation Corp
3 Hours
Duration of Flight
1125 NM
Range
375 MPH
Max Speed

Gallery




Basic Information
Airframe
Data valid as of 2023-04-07No flight history available
Flight records for this aircraft have not been tracked yet.
AI Summary
Eclipse 500 (EA500)
Overview
U.S. standard airworthiness/certificate record. Registered to TURNER SALES LLC (Memphis, TN). Certificate issued 2020-12-09; airworthiness date 2008-01-03; registration expires 2027-12-31.
Specifications
- Engines: 2× Pratt & Whitney Canada PW610F-A (900 lbf each)
- Range: 1125 nm
- Cruise: 335 kts
- Seats: 6
- Ceiling: 41000 ft
Operations & Cabin
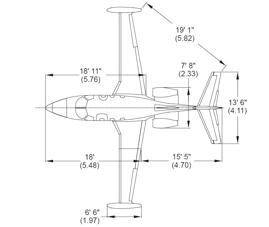
Executive 4–6 place club configuration (small VLJ cabin, ~12 ft cabin length) Typical fit: 4–5 passenger executive seating, limited baggage (≈16 cu ft); some airframes have retrofit interiors or avionics upgrades. Avionics: Avio / Avio NG (IS&S) or equivalent Avio suite
Model & Market Context
This entry covers airframe N883LC, a 2008-built Eclipse 500 (EA500) with serial number 000203. The aircraft is registered in the United States and is owned by TURNER SALES LLC, an LLC based in Memphis, TN, US. Registered to TURNER SALES LLC in Memphis, the airframe's documented history centers on its role as a small very light jet operated in executive or sales-support configurations. Condition and valuation specifics are not published in the provided data.
The cabin of N883LC is configured in an executive 4–6 place club arrangement within a small VLJ cabin of approximately 12 ft in length, providing a compact executive interior suitable for short business hops and sales or demo missions. Avionics fit is listed as Avio / Avio NG (IS&S) or equivalent Avio suite, reflecting the integrated flight deck typical of Eclipse 500s and supporting single-pilot or two-pilot operations depending on operator policy. Typical mission profiles for this airframe include regional point-to-point travel within its 1,125 nm range and high-speed cruise segments at 335 kts up to its 41,000 ft service ceiling. Being owned by a sales LLC in Memphis suggests usage tied to corporate transport, ferrying, or demonstration flights; maintenance considerations for this specific aircraft follow standard VLJ schedules and engine-specific programs for the PW610F-A.
The Eclipse 500 (EA500) family occupies the very light jet niche, offering low operating costs and high cruise speeds for short to mid-range missions. With twin PW610F-A engines producing 900 lbf each, the type emphasizes efficiency and climb performance to near airliner altitudes. Competing models in the segment historically include other VLJs and entry-level light jets; buyer and charter demand typically centers on owner-operators, small charter firms, and sales or demonstration roles. Resale and maintenance considerations for this airframe reflect the broader EA500 market: avionics commonality with Avio/Avio NG installations, availability and Retrofit paths, and engine support for the PW610F-A powerplants.
Aircraft Comparison
| Parameter | N883LC | N100VA | N105LB |
|---|---|---|---|
| Serial Number (MSN) | 000203 | 000138 | 000118 |
| Year Manufactured | 2008 | 2008 | 2008 |
| Duration of Flight | 3 Hours | 3 Hours | 4 Hours |
| Range | 1125 NM | 1125 NM | 1280 NM |
| Max Speed | 375 MPH | 375 MPH | 375 MPH |
| Aircraft Class | Under 12,500lbs | Under 12,500lbs | Under 12,500lbs |
| Service Ceiling | 41000 ft | 41000 ft | 41000 ft |
| Max Passengers | 6 | 6 | 6 |
| Cabin Comfort | No items found. | No items found. | No items found. |